Suite au lancement de la série Stage LT, qui comprend l’enceinte à courbure constante VCH30 et le subwoofer double 18 pouces VTL218, nous avons mis à jour nos bibliothèques de presets pour les amplificateurs PikipAmp24 et PikipAmp44. En plus de l'ajout de ces enceintes, et dans une démarche d'amélioration continue, nous avons aussi fait évoluer les presets de tous les systèmes PikiP vers une nouvelle version pour garantir une homogénéité sonore.
Chaque série PikiP a une courbe de réponse en fréquence cible. Les courbes sont similaires, à l’exception de l’extension en basse fréquence, qui est plus prononcée pour les plus gros systèmes. Cette réponse en fréquence est gage de polyvalence : elle convient autant pour la musique enregistrée à forte densité en basses fréquences que pour de la musique live. Le profil est modifiable par l’utilisateur·rice afin de s’adapter aux conditions et aux besoins.
Cette courbe a été définie avec le concours de Christophe Chapuis, caleur de systèmes son reconnu, qui a également contribué à la réalisation des presets en apportant son expertise de terrain.

Qu’y a-t-il dans les bibliothèques ?
Pour chaque canal, l’utilisateur·rice peut charger un preset appelé "Speaker". Il contient plusieurs traitements de signal : par exemple, des EQ, des limiteurs ou du retard. Chaque Speaker correspond à un modèle d’enceinte et assure l’optimisation du couple amplificateur-enceinte en termes de protection, de qualité sonore et d’efficacité énergétique.
Ce que l’on appelle des "Presets", ce sont des combinaisons de Speakers avec un matriçage spécifique qui couvrent toutes les configurations courantes des systèmes PikiP. Cette base de travail permet de gagner beaucoup de temps en amont d’une prestation.
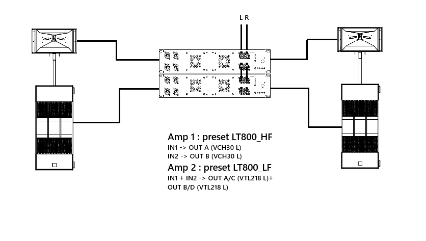
Par exemple, pour un système LT800 (qui se compose d’un VTL218 et d’un VCH30 par côté) l'utilisateur·rice doit simplement charger le Preset LT800 qui contient le matriçage et les Speakers adaptés aux enceintes VCH30 et VTL218. Il·elle peut bien sûr procéder à des ajustements via le logiciel pour s’adapter au lieu et à l’esthétique recherchée.

De quoi sont faits les presets ?
Les EQs
Chaque enceinte est d’abord égalisée afin d’obtenir la réponse en fréquence désirée, en compensant notamment certains phénomènes acoustiques. Par exemple, un pavillon à directivité constante a intrinsèquement une réponse en fréquence qui chute dans les aigus. Un EQ permet de rattraper ce phénomène et d’optimiser le rendement et l’intégration au système. C’est ainsi qu'on obtient la courbe cible.
Mise en phase
La phase, les filtres et le retard sont adaptés pour que la différence de phase des enceintes dans la bande de recouvrement entre deux enceintes soit la plus faible possible. Cela permet de conserver, d’une part, une sommation idéale, donc sans perte de niveau et d’efficacité, mais également une réponse impulsionnelle cohérente et une forme d’onde préservée.
Limiteurs
Deux grands types de limiteurs existent : les limiteurs crêtes, qui ont pour but d’éviter une excursion trop importante de la bobine des haut-parleurs (et donc leur destruction), et les limiteurs RMS, qui servent à limiter la puissance moyenne dissipée par les enceintes, pour éviter la surchauffe de la bobine (et donc leur destruction).
Des limiteurs bien réglés assurent la durabilité de l’enceinte (jamais de casse chez PikiP !). C’est un compromis délicat puisqu’il s'agit de conserver un niveau sonore important, une dynamique suffisante, mais également, et c’est moins connu, l’autonomie. En effet, une différence de limitation RMS de 1 dBU se traduit dans les faits par une différence de SPL inférieure à 1 dB, du fait de la compression de puissance. Cette différence est à peine audible mais peut impliquer 25 % de consommation supplémentaire !
La conception des enceintes est bien sûr primordiale, mais elle va de pair avec tout le traitement de signal embarqué dans les amplificateurs. Développée avec des experts du calage de systèmes son, la nouvelle version de ces presets assure une exploitation optimisée de nos enceintes en terme de niveau sonore, de robustesse et d’autonomie, tout en préservant la signature sonore PikiP.